南山人壽新手術醫療保險附約 (SIR)
- 附約保險
- 定期保險
- 銷售期間~
試算保費
- 最多人選擇
- 75歲滿期1000 元
- 年繳保費
- -元
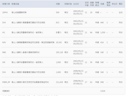
保費走勢
理賠項目
版本紀錄
熱門醫療險
相關討論
看更多討論南山保單調整/詢問
26男 無體況 朝9晚6上班族 保單目前第三年 目前有一張終生醫療保單,目前也僅有一張後來朋友沒做了也無法聯繫上,目前也搬來台北就比較無人可諮詢><想詢問是否此單還有繼續繳納必要 或是可以直接砍掉重新規劃謝謝各位大神一年一約主約 20SPHI附約AMNDHINAINHSANPBBRPARTSIR2
.回應13
保險問題,南山主約
想買南山的醫療險,請問有哪一個主約最便宜可以搭配以下附約呢被保人0歲-保額-費用1.BBMR-1份-1450$2.KPAR2-61.5萬-609$3.DHI-3000$-1620$4.1SIR-2單位-600$5.1TED-100萬-1280$6.1HS A型-1份-3750$7.SBBR-50萬-550$
.回應9
30歲女/保單健檢
30歲女 無體況 台中 先前家人幫我保南山,有意規劃其它公司的實支實付請大家幫我看有哪些不足或重複的能夠刪減、移動的部分, 謝謝. 南山人壽護您久久終身防癌健康保險(CAB)南山人壽超醫靠自負額住院醫療健康保險附約(HSDB)南山人壽新傷害保險附約(NAI)南山終身醫療保險(20PHI)南山人壽住院醫療保險附約 (HS)南山人壽傷害醫療保險金附加條款-無全民健康保險(MN)南山人壽新人身意外傷害保險附約(PAR)南山人壽新手術醫療保險附約(NSIR75)南山人壽真獻情手術醫療定期健康保險附約(TSIR)

.回應11
醫療實支實付問題
如題,目前醫療實支實付有南山的HS 南山人壽住院醫療保險附約 計劃10SIR 南山人壽手術醫療保險附約 3000有關的應該是這些,想要增加實支實付,目前有什麼辦法,還是打掉重練更快?
.回應22
請問南山1Hi還有必要續嗎?
之前疫情嚴重時買的,本來說確診居家隔離視同住院理賠結果昨天確診一查才發現不賠了都繳兩年其實還蠻錯愕的,懷疑這保單是否不符合需求底下還有附約1CIC+1SIR+NHS保費大約一萬五以上不知道這個搭配好不好?還需要留嗎因為他是每年會自動續約的如果不想續是直接打電話去客服告知就好嗎?
.回應6
保單調整
33歲男 無體況 舊有的南山保單以下是新規劃的 保單 送審中想問以目前保單南山附約是否有較用不到的內容可以刪除的還有20sphi跟 TSIR2終身醫療已經繳6.7年了,但感覺效益不高想終止另外是否有其他需要補的部分謝謝

.回應8